致全渭南市广大人民群众的一封信!附:渭南市定点医院和疫情防控咨询、举报电话

   关闭 [复制链接]

签到天数: 5 天

[LV.2]偶尔看看I

分享到:
发表于 2020-1-26 14:45 | 显示全部楼层 |阅读模式

马上注册荣耀渭南网,结交渭南乡党,享用更多功能,让你轻松玩转荣耀网

您需要 登录 才可以下载或查看,没有账号?立即注册 |

x
致全市广大人民群众的一封信

全市广大人民群众:

当前, 新型冠状病毒感染的肺炎疫情席卷而来, 疫情防控工作形势严峻。疫情发生后, 党中央、国务院高度重视, 习近平总书记作出重要指示, 李克强总理作出批示,省委省政府、市委市政府分别召开专题会议安排部署, 成立联防联控工作领导小组, 建立联防联控工作机制,按照突发公共卫生事件一级响应, 全市上下正在全力做好疫情防控工作,各项工作正在有序开展。

配合作好疫情防控工作, 关乎每一个家庭和个人,也是《中华人民共和国传染病防控法》要求每一位公民应承担的责任和义务,为了您和家人的生命健康安全,在此我们温馨提示:

一、广大人民群众要提高疫情防范意识,加强联防联控预警,发现有来自湖北武汉的人员没有遵守居家隔离,及时给予劝诫或向当地卫生健康部门反映,群防群控、严防死守、共同努力保一方平安。同时,自觉配合各级政府开展疫情防控工作,服从当地政府、居民委员会、村民委员会或者所属单位的指挥和安排,配合当地政府采取的应急处置措施,协助做好疫情防控工作。

二、“早预防、早发现、早诊断、早隔离、早治疗”是防治新型冠状病毒感染的肺炎疫情的关键,如果您1月8日以来曾经去过武汉或者亲密接触过从武汉返渭的人员,请主动到就近社区登记,并自觉进行隔离观察至少14天。一旦出现发热、咳嗽、胸闷、打喷嚏等呼吸道感染症状,尽快前往各定点医疗机构发热门诊进行诊断,一定要佩戴口罩,避免再接触他人,同时记得主动向医生描述发病过程。

三、自觉保持良好卫生习惯,注意个人卫生防护,勤洗澡、洗手,不随地吐痰,咳嗽、打喷嚏时务必使用纸巾捂住口鼻,防止飞沫传播。定时开窗通风,保持室内空气流通。咳嗽、饭前便后、接触或处理动物排泄物后,要用流水+肥皂/洗手液洗手,或者使用含酒精成分的免洗洗手液,每次洗手至少20秒。注意保持室内环境卫生和空气流通,避免到封闭、空气不流通的公众场所和人流集中地方,外出一定要自觉佩戴口罩。

四、春节期间人员流动频繁,又正值冬春季呼吸道传染病高发季节,探亲访友、亲朋聚餐都会增加疾病传播风险。请尽量避免走亲访友、走街串巷和参加各种聚餐聚会活动,自觉抵制食用野生动物的陋习,积极举报捕猎野生动物的违法行为。同时适度进行体育锻炼,提高自身免疫力。

五、各县(市、区)、各有关部门正在通力协作、顶格开展各项疫情防控工作,请广大人民群众不要听信未经证实的消息、药方等,不信谣、不传谣,保持冷静理智的心态,通过实际行动,联防联治、群防群治,为我市打赢疫情防控阻击战贡献自己的一份力量。        


渭南市新型冠状病毒感染的肺炎
疫情联防联控领导小组
2020年1月26日

u=1161558637,1215012193&fm=26&gp=0.jpg

渭南市定点医院
定点医院.png

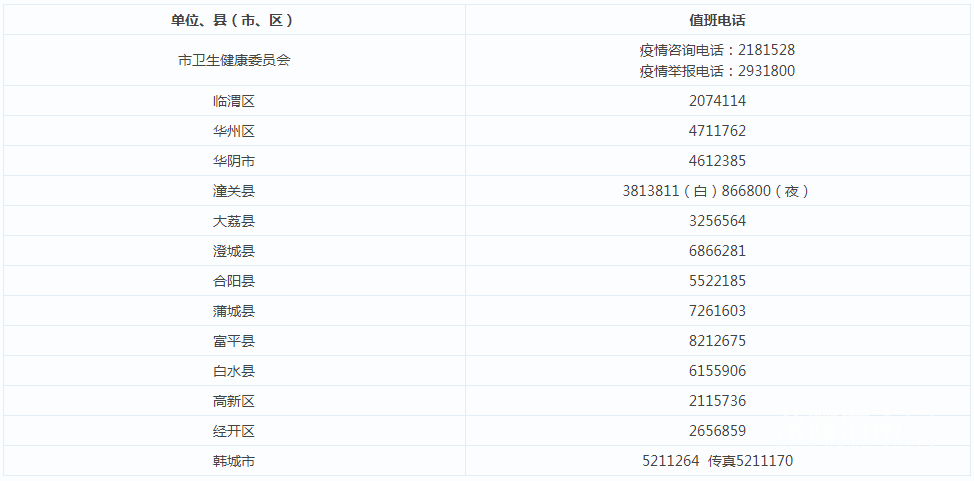
全市疫情防控咨询、举报电话
电话.png



荣耀渭南网---每天我们都在影响这座城市!

使用高级回帖 (可批量传图、插入视频等)快速回复

您需要登录后才可以回帖 登录 | 立即注册 |

本版积分规则   Ctrl + Enter 快速发布  

发帖时请遵守我国法律,网站会将有关你发帖内容、时间以及发帖IP地址等记录保留,只要接到合法请求,即会将信息提供给有关政府机构。
返回顶部快速回复返回列表找客服
快速回复 返回顶部 返回列表